

트럼프 행정부 이후 알래스카 가스 개발 구상은 미국의 에너지·무역 정책에서 반복적으로 소환되어 왔다. 이 이슈가 흥미로운 이유는 단순히 “가스를 얼마나 많이 뽑느냐”로 끝나지 않기 때문이다. 알래스카는 생산지의 원격성, 인프라 구축 난이도, 긴 공사 기간, 환경·인허가 변수 등으로 인해 “액화 시설을 어디에, 어떤 방식으로 구축할 것인가”가 사업 성패를 좌우할 수 있다. 가스를 액체(LNG)로 만드는 공정이야말로 장거리 수송 체계의 시작점이기 때문이다.
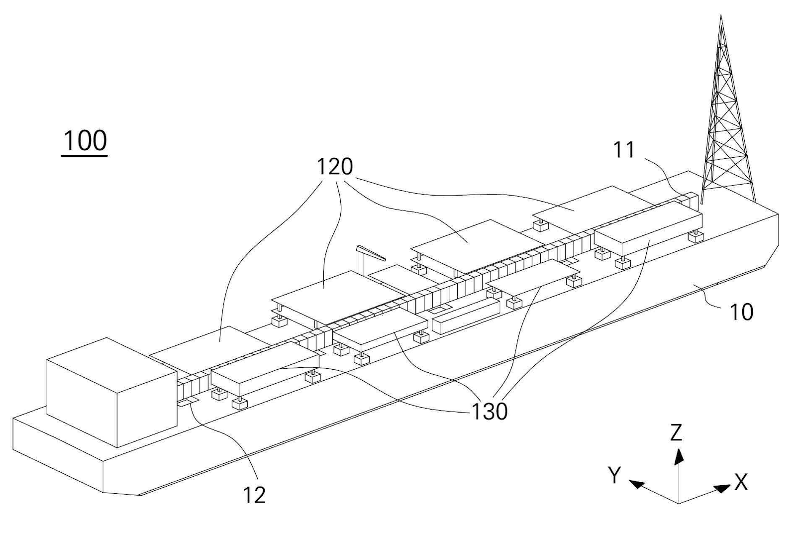
통상 LNG 프로젝트는 육상(온쇼어)에 대규모 액화 플랜트를 건설한다. 그러나 육상 공사가 부담스러워 질수록, 액화 공정을 아예 바다로 옮기는 시나리오가 검토 테이블에 오른다. 여기서 등장하는 개념이 FLNG다. FLNG는 Floating LNG의 약자로, 해상에서 천연가스를 처리·액화해 LNG로 저장하고, LNG 운반선에 하역하는 설비를 말한다. 흔히 “바다 위 LNG 공장”이라고 부르지만, 실제로는 계류(바다 위에서 구조물을 고정하는 방식), 운영·정비 접근성, 전력 안정성, 공정 모듈 배치, 건조 공법까지 함께 묶인 인프라 패키지에 가깝다.
여기서 중요한 전제부터 정리한다. FLNG 자체는 최근에 갑자기 등장한 신개념이 아니다. 쉘의 Prelude처럼 초대형 프로젝트도 이미 존재했고, 모잠비크 Coral-Sul 같은 실물 사례도 운용되고 있다. 따라서 이번 글의 초점은 “FLNG가 가능하냐”가 아니라 “최근 특허가 보여주는 설계 방향이 무엇이냐”이다.

특히 삼성중공업의 2023~2024년 FLNG 특허 출원들은 FLNG를 일회성 프로젝트가 아닌 제품군으로 확장하려는 전략을 보여준다. 핵심은 '연안 고정형'과 '반복 가능한 플랫폼화'이다. 알래스카 이슈는 곧 FLNG의 방향성을 묻는 질문이 된다. 즉, 육상 중심 해법이 부담스러울 때 '연안형·고정형 해상 액화 패키지'가 얼마나 설득력 있는 대안이 될 수 있는지, 또 누가 이를 실현할 수 있는지를 묻는 것이다.

1. 2023년, 연안 고정형이라는 답안: 바다 위 설비를 ‘통근 가능한 공장’으로 만든다
첫 번째 흐름은 ‘연안 고정형’이다. 10-2023-0056332(연안 고정형 부유식 액화천연가스 생산 설비)은 FLNG를 원해(먼 바다)에 띄우는 방식만이 아니라, 연안에 설치해 운영 모델 자체를 바꾸는 아이디어를 담는다. 핵심은 바다 위 설비임에도 해상 상주를 전제로 한 리빙쿼터(생활구역)나 E&I 빌딩(전기·계장; Electrical & Instrumentation)을 최소화하거나 생략하고, 육상에서 통근 가능한 운영 시나리오를 열어두는 것이다. 이는 “바다에 띄우지만 운영은 육상처럼” 하겠다는 발상이다. 운영 인력 및 정비 접근성이 비용과 가동률을 좌우하는 프로젝트에서, 이러한 관점은 곧 경제성의 핵심이 된다.

2. 2023년, 유틸리티 빌딩 중심의 통합: 설비를 한 덩어리로 정리한다
10-2023-0056333(유틸리티 빌딩이 구비된 연안 고정형 부유식 액화천연가스 생산 설비)은 연안 고정형 컨셉을 ‘설비 배치’ 관점에서 한 단계 더 정리한다. 유틸리티 빌딩은 전력, 제어, 통신 및 지원 설비와 업무 공간을 통합한 중심 건물로 이해하면 된다. FLNG는 공정 모듈(탑사이드)뿐 아니라, 이를 움직이는 전력과 제어 인프라가 복잡하게 얽힌다. 이 특허 흐름은 복잡성을 설계 단계에서 통합해, 구축 뿐만 아니라 운영 및 점검의 부담을 낮추려는 방향이다. 프로젝트 규모가 커질수록 설비의 성능 만큼이나 '관리 가능한 구조'가 핵심 경쟁력이 된다.

3. 2023년, 탱크·선체 배치 최적화: 비대칭이 설계 자유도를 만든다
세 번째 흐름은 내부 저장 탱크와 선체 배치다. FLNG는 액화 공정(탑사이드)만으로 완성되지 않는다. LNG를 저장하는 화물창(탱크)의 구조와 배치가 선체 크기, 강도, 안정성, 공정 배치 자유도에 직접 영향을 준다. 10-2023-0117184(리퀴드 돔이 비대칭적으로 배치된 부유식 액화천연가스 생산 설비)는 멤브레인형 탱크 상부의 리퀴드 돔(탱크 상부 구조)을 비대칭으로 배치하는 구상을 제시한다. 여기서 포인트는 단순히 “공간을 더 쓴다”가 아니다. 비대칭 배치는 탑사이드, 배관, 지원 설비 간의 간섭을 줄이고 설비 배치 자유도를 높여, "전체 시스템을 더 합리적으로 구성"할 수 있도록 한다. 따라서 비대칭 설계는 '운영 효율'과 같은 막연한 목표보다 "배치 간섭 최소화와 공간 최적화"라는 구체적인 문제를 겨냥한다.

4. 2023년, 건조 공법을 특허로 고정한다: 대형 블록을 어떻게 올릴 것인가
FLNG는 설계 만큼이나 건조가 어렵다. 그래서 2023년 출원에는 “어떻게 조립하고 어떤 순서로 탑재할 것인지”가 전면에 등장한다. 10-2023-0117394(연안 고정형 FLNG의 대형 LNG 탱크 상부 더블 데크 블록 탑재 방법)은 대형 LNG 탱크 상부의 더블 데크 블록을 탑재하는 방법을 다룬다. 쉽게 말해, 대형 구조물을 어떤 단위로 선조립하고, 어떤 지지 구조를 활용해, 어떤 순서로 올려놓을지를 공법(레시피)으로 정리한 것이다.

이런 공법 특허가 중요해지는 이유는 단순하다. FLNG는 “많이 만들어본 회사”가 강해진다. 반복 가능한 공정과 표준화된 탑재 방법이 확보될수록 일정과 비용의 변동 폭이 줄어들기 때문이다. 알래스카처럼 전체 사업의 리스크가 인프라 구축 난이도에 좌우될수록, 공법의 표준화는 기술 문제이면서 동시에 사업 문제가 될 것이다.
5. 2024년, 플랫폼화와 전력 자립: FLNG를 ‘반복 생산’ 가능한 제품군으로 만든다
2024년 출원 2건은 이 특허 묶음의 방향을 가장 명확히 보여준다. 10-2024-0056123(일정 폭과 높이의 카고 홀드를 가지는 연안 고정형 FLNG 및 설계 방법)은 카고 홀드(화물창 구역)의 폭과 높이 같은 주요 치수를 관리하며 설계를 진행하는 방법론을 제시한다. 프로젝트마다 새로 그리는 설계에서 벗어나, 규격과 구획을 관리해 반복 가능한 설계 체계를 만들겠다는 시도이다. FLNG를 “한 번 만들고 끝나는 선박형 프로젝트”가 아니라 “제품군으로 확장 가능한 인프라”로 보려면, 이런 규격화가 먼저 정리되어야 한다.
10-2024-0056129(플로터 자체 전력 공급 장치를 가지는 연안 고정형 FLNG 및 전력 제어 방법)은 전력을 전면에 둔다. FLNG는 전력 소비가 큰 설비이며, 전력의 안정성이 곧 가동률로 이어진다. 특히 원격지·고비용 환경에서는 전력 인프라 취약성이 운영 리스크로 직결된다. 이 특허 흐름은 “연안 고정형”을 단순한 설치 방식이 아니라, 운영 안정성을 패키지로 만들기 위한 설계 과제로 본다는 점에서 의미가 크다.

결론: 알래스카가 던진 질문은 ‘가스’가 아니라 ‘인프라 패키지’다
알래스카 LNG 이슈는 한국 조선업에 단순히 수주 기대감만을 넘어선 질문을 던진다. 이는 “어떤 인프라 패키지를 어떤 일정과 리스크로 제시할 수 있는가”라는 구조적 질문이다. FLNG는 이 패키지의 형태를 바꿀 수 있는 중요한 선택지이지만, 알래스카에서 FLNG가 유일한 정답이라고 단정할 근거는 없다. 오히려 현실적인 핵심 질문은, 육상 액화 플랜트 중심 해법이 부담스러워질 때, 연안에서 접근성과 운영 단순화를 극대화한 고정형 해상 액화 패키지가 얼마나 설득력 있는 대안이 될 수 있는지, 그리고 그 대안을 “반복 가능한 제품군”으로 표준화하여 제시할 수 있는지로 판단된다.

삼성중공업의 2023~2024년 특허 흐름은 이러한 구조적 질문에 대한 하나의 내부 답안을 제시한다. 핵심은 FLNG를 프로젝트가 아닌 '표준화된 패키지 상품'으로 만들겠다는 전략이다. 연안 고정형 운영 모델(통근 가능한 구조), 유틸리티 중심 통합, 탱크·선체 배치 최적화, 대형 블록 탑재 공법, 설계 규격화와 전력 자립까지. 바다 위 LNG 공장은 단순 기술 추가가 아닌, 반복적인 판매를 위한 인프라 패키지로 진화하고 있다. 알래스카 화두는 이처럼 '제품화된 인프라 패키지' 경쟁의 시대를 여는 촉매이며, 삼성중공업의 특허를 통해 그 청사진을 가장 선명하게 확인할 수 있다.
알래스카 북부 LNG처럼 아직 최종 투자결정이 확정되지 않은 프로젝트일수록, 승부는 인프라 패키지의 설득력에서 갈린다. MASGA로 상징되는 미국의 조선·해양 인프라 재건 흐름과 맞물려, 한국 조선업이 ‘LNG 운반선’에서 한 단계 더 나아가 ‘해상 플랜트·모듈·운영 체계’까지 묶어 제안하는 산업으로 성장하는 계기가 되길 기대한다.
BLT 칼럼은 BLT 파트너변리사가 작성하며 매주 1회 뉴스레터를 통해 발행됩니다.
뉴스레터 구독신청
필자 소개
정태균 파트너변리사는 BLT 전략본부장으로 스타트업들의 IP전략, BM전략, 시장진출(GTM) 전략 수립을 지원하고 있습니다. 필자는 연세대학교 전기전자공학과를 졸업하고, 2011년 48기 변리사 시험에 합격했으며, 현재 여러 분야의 스타트업의 IP(특허, 상표, 디자인)업무 뿐만 아니라 비즈니스 참여하여 성장을 지원하고 있습니다.
특허법인 BLT
누군가는 특허를 만들 때, BLT는 당신의 사업의 성공을 만들어 냅니다. The Only Firm for Your Success!!
원문 보러가기
#FLNG #연안고정형 #바다위LNG공장 #알래스카LNG #알래스카가스전 #삼성중공업 #해양플랜트 #조선업 #LNG프로젝트 #가스액화 #인프라패키지 #모듈러설계 #전력자립 #탱크배치 #유틸리티빌딩 #기술 #특허전략 #특허 #지식재산권 #특허법인 #변리사